Logo

Circle Ellipse Engine - Patent

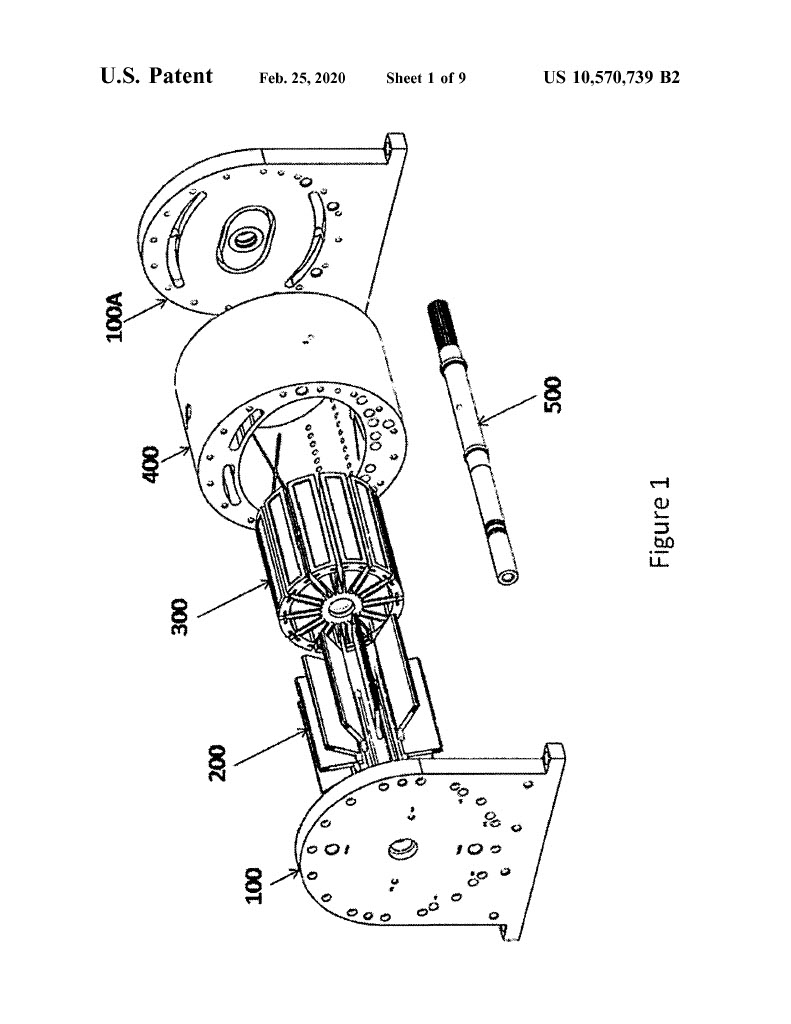
Evolutionary, Lightweight, Symmetrical, Scalable, 5 Major Parts

Home     Slides     Trifold     Download the Patent     Media Kit     Analysis     Business Plan

https://www.CircleEllipseEngine.Com
Email   Founder and President
Telephone +1 (440) 463-2765
Patent1   Patent2   Patent3   Patent4  
Patent5   Patent6   Patent7   Patent8  
Patent9   Patent10   Patent11   Patent12  
Patent13   Patent14   Patent15   Patent16  
Patent17  

© 2020-2025 Circle Ellipse Engine Company